Клапан обратный тип RSV032N-NEW

КЛАПАН ОБРАТНЫЙ МЕЖФЛАНЦЕВЫЙ СТВОРЧАТЫЙ ТИП RSV032N-NEW
КЛАПАН ОБРАТНЫЙ МЕЖФЛАНЦЕВЫЙ СТВОРЧАТЫЙ ТИП RSV032N-NEW
КЛАПАН ОБРАТНЫЙ МЕЖФЛАНЦЕВЫЙ СТВОРЧАТЫЙ ТИП RSV032N-NEW График температура - давление
График температура - давление
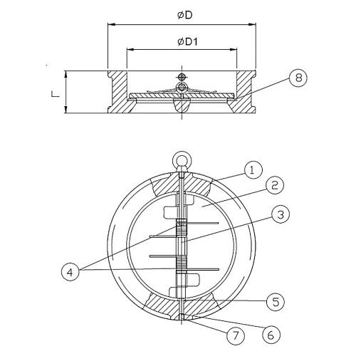
КЛАПАН ОБРАТНЫЙ МЕЖФЛАНЦЕВЫЙ СТВОРЧАТЫЙ ТИП RSV032N-NEW Чертеж
Чертеж
Характеристика:

Диаметр DN, мм

40 – 600

Давление PN, бар

16

Температура, °С

от -10 до +100 (до +120 кратковременно)

Среда

Вода, этиленгликоль до 40%, водяной пар, воздух и др. инертные среды

Класс герметичности по ГОСТ 9544-2015

"B"

Тип присоединения

межфланцевый (ответные фланцы рекомендуем по ГОСТ 33259-2015 (ГОСТ 12820-80 / 12821-80 исп.1)

Материалы:

Наименование

Материалы

1

Корпус

Высокопрочный чугун GGG45

2

Диск

Высокопрочный чугун GGG45, покрытый никелем

3

Шток

Нержавеющая сталь (AISI420)

4

Пружина

Нержавеющая сталь (AISI304)

5

Уплотнение корпуса

PTFE

6

Стопорное кольцо

Нержавеющая сталь (AISI304)

7

Фиксатор

Нержавеющая сталь (AISI304)

8

Уплотнение седла

EPDM

Размеры:

DN

D

D1

L

Масса

мм

мм

кг

40

92

60

54

1,31

50

106

65

54

1,46

65

126

79

54

2,16

80

142

95

57

2,77

100

158

118

64

4,07

125

189

145

70

6,2

150

213

170

76

8,15

200

273

224

95

14,72

250

328

265

108

25,0

300

378

310

143

37,5

350

438

360

184

61,11

400

489

410

192

79,7

450

539

450

203

111,42

500

616

506

152

100,0

600

724

625

178

160,0

Гидравлическая характеристика Kv, м3/ч:

DN, мм

40

50

65

80

100

125

150

200

250

300

350

400

450

500

600

Kv, м3

34

35

76

88

238

465

658

930

2043

3178

4313

6810

9080

10021

22000

Похожее оборудование
КЛАПАН ОБРАТНЫЙ ПРУЖИННЫЙ GENEBRE С ВНУТРЕННЕЙ РЕЗЬБОЙ ТИП 3121
Описание Клапан обратный пружинный с внутренней резьбой
Диаметр 1/2” - 4” (15 - 100 мм)
Давление 25/12 бар
Температура -20 - 90°С
КЛАПАН ОБРАТНЫЙ ПОДЪЕМНЫЙ С ШАРОМ РЕЗЬБОВОЙ ТИП RSV036N
Описание Клапан обратный подъемный с шаром с внутренней резьбой
Диаметр 1” - 3” (25 - 80 мм)
Давление 16 бар
Температура -10 - 70°С (до +80°С кратковременно)
КЛАПАН ОБРАТНЫЙ ПРУЖИННЫЙ МЕЖФЛАНЦЕВЫЙ ТИП 275
Описание Клапан обратный пружинный межфланцевый
Диаметр 15 - 300 мм
Давление 16; 40 бар
Температура до 300°С
КЛАПАН ОБРАТНЫЙ ПОДЪЕМНЫЙ С ШАРОМ ФЛАНЦЕВЫЙ ТИП RSV034N-T
Описание Клапан обратный подъемный с шаром фланцевый
Диаметр 40 - 400 мм
Давление 10; 16 бар
Температура От -10°С до +70°С (до +80°С кратковременно)
КЛАПАН ОБРАТНЫЙ МЕЖФЛАНЦЕВЫЙ ТИП RSV031N
Описание Клапан обратный межфланцевый из нержавеющей стали
Диаметр 15- 200 мм
Давление 40 бар
Температура от -40°С до +240°С (от -40°С до +300°С кратковременно)
КЛАПАН ОБРАТНЫЙ МЕЖФЛАНЦЕВЫЙ СТВОРЧАТЫЙ ТИП RSV030N RED-Т
Описание Клапан обратный межфланцевый створчатый
Диаметр 32 - 800 мм
Давление 16 бар
Температура от -20°С до +115°С (до +130°С кратковременно)
КЛАПАН (ЗАТВОР) ОБРАТНЫЙ МЕЖФЛАНЦЕВЫЙ ТИП КН 210
Описание Клапан (затвор) обратный межфланцевый
Диаметр 40 - 300 мм
Давление 16 бар
Температура 110°С