Клапан обратный тип RSV032N-Т

КЛАПАН ОБРАТНЫЙ МЕЖФЛАНЦЕВЫЙ СТВОРЧАТЫЙ ТИП RSV032N-Т
КЛАПАН ОБРАТНЫЙ МЕЖФЛАНЦЕВЫЙ СТВОРЧАТЫЙ ТИП RSV032N-Т
КЛАПАН ОБРАТНЫЙ МЕЖФЛАНЦЕВЫЙ СТВОРЧАТЫЙ ТИП RSV032N-Т
КЛАПАН ОБРАТНЫЙ МЕЖФЛАНЦЕВЫЙ СТВОРЧАТЫЙ ТИП RSV032N-Т График температура - давление
График температура - давление
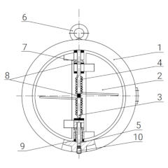
КЛАПАН ОБРАТНЫЙ МЕЖФЛАНЦЕВЫЙ СТВОРЧАТЫЙ ТИП RSV032N-Т Чертеж
Чертеж
КЛАПАН ОБРАТНЫЙ МЕЖФЛАНЦЕВЫЙ СТВОРЧАТЫЙ ТИП RSV032N-Т Чертеж
Чертеж
Характеристика:

Диаметр DN, мм

32 – 800

Давление PN, бар

16

Температура, °С

от -10 до +100 (до +120 кратковременно)

Среда

Вода, этиленгликоль до 40%, водяной пар, воздух и др. инертные среды

Класс герметичности по ГОСТ 9544-2015

"B"

Тип присоединения

межфланцевый (ответные фланцы рекомендуем по ГОСТ 33259-2015 (ГОСТ 12820-80 / 12821-80 исп.1)

Материалы:

Наименование

Материалы

1

Корпус

Серый чугун GG25

2

Створки клапана

Высокопрочный чугун GGG40, покрытый никелем

3

Шток

Нержавеющая сталь AISI304

4

Пружина

Нержавеющая сталь AISI304

5

Шарнирный штифт

Нержавеющая сталь AISI416

6

Рым-болт

Углеродистая сталь (DN200-600)

7

Стопорный штифт

Нержавеющая сталь AISI416

8

Уплотнение пружины

PTFE

9

Уплотнение корпуса

PTFE

10

Заглушка

Нержавеющая сталь AISI201

11

Уплотнение седла

EPDM

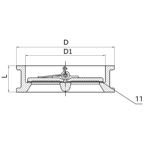
Размеры:

DN

ØD1

ØD

L

Масса

мм

мм

кг

32

58

92

43

0,95

40

58

92

43

1,2

50

65

107

43

1,4

65

80

127

46

1,8

80

94

142

64

2,9

100

117

162

64

4,35

125

145

192

70

5,6

150

170

218

76

7,5

200

224

273

89

13,3

250

265

328

114

22,5

300

310

378

114

30,5

350

360

438

127

48,0

400

410

488

140

72,0

450

450

538

152

102,0

500

505

592

152

125,0

600

624

695

178

165,0

700

720

809

229

225,0

800

825

916

241

328,0

Гидравлическая характеристика Kv, м3/ч:

DN, мм

32

40

50

65

80

100

125

150

200

250

300

350

400

450

500

600

700

800

Kv, м3

29

34

35

76

88

238

465

658

930

2043

3178

4313

6810

9080

10021

22000

37000

59000

Похожее оборудование
КЛАПАН ОБРАТНЫЙ МЕЖФЛАНЦЕВЫЙ ТИП 2415
Описание Клапан обратный межфланцевый
Диаметр 15 - 200 мм
Давление 25; 40 бар
Температура до 300°С
КЛАПАН ОБРАТНЫЙ ПРУЖИННЫЙ МЕЖФЛАНЦЕВЫЙ ТИП 275
Описание Клапан обратный пружинный межфланцевый
Диаметр 15 - 300 мм
Давление 16; 40 бар
Температура до 300°С
КЛАПАН ОБРАТНЫЙ ПОДЪЕМНЫЙ С ШАРОМ ДЛЯ ЗАГРЯЗНЕННЫХ ЖИДКОСТЕЙ ТИП 6516/6616, ТИП 6526/6626
Описание Клапан обратный подъемный с шаром для загрязненных жидкостей
Диаметр 40 - 600 мм / 1” - 2” (25 - 50 мм)
Давление 10; 16 бар
Температура от -20 до 120°С
КЛАПАН ОБРАТНЫЙ ПРУЖИННЫЙ GENEBRE С ВНУТРЕННЕЙ РЕЗЬБОЙ ТИП 3121
Описание Клапан обратный пружинный с внутренней резьбой
Диаметр 1/2” - 4” (15 - 100 мм)
Давление 25/12 бар
Температура -20 - 90°С
КЛАПАН ОБРАТНЫЙ ПОДЪЕМНЫЙ ФЛАНЦЕВЫЙ ТИП RSV033N
Описание Клапан обратный подъемный фланцевый
Диаметр 15 - 200 мм
Давление 16 бар
Температура до +300°С
КЛАПАН ОБРАТНЫЙ МЕЖФЛАНЦЕВЫЙ СТВОРЧАТЫЙ ТИП RSV032N-NEW
Описание Клапан обратный межфланцевый створчатый
Диаметр 40 - 600 мм
Давление 16 бар
Температура от -10°С до +100°С (до +120°С кратковременно)
КЛАПАН ОБРАТНЫЙ ПОДЪЕМНЫЙ С ШАРОМ ФЛАНЦЕВЫЙ ТИП RSV034N-T
Описание Клапан обратный подъемный с шаром фланцевый
Диаметр 40 - 400 мм
Давление 10; 16 бар
Температура От -10°С до +70°С (до +80°С кратковременно)