Вентиль запорный тип RSV017N-T

ВЕНТИЛЬ ЗАПОРНЫЙ С СИЛЬФОННЫМ УПЛОТНЕНИЕМ И НЕВЫДВИЖНЫМ ШТОКОМ ФЛАНЦЕВЫЙ ТИП RSV017N-T
ВЕНТИЛЬ ЗАПОРНЫЙ С СИЛЬФОННЫМ УПЛОТНЕНИЕМ И НЕВЫДВИЖНЫМ ШТОКОМ ФЛАНЦЕВЫЙ ТИП RSV017N-T
ВЕНТИЛЬ ЗАПОРНЫЙ С СИЛЬФОННЫМ УПЛОТНЕНИЕМ И НЕВЫДВИЖНЫМ ШТОКОМ ФЛАНЦЕВЫЙ ТИП RSV017N-T
Характеристика:

Диаметр DN, мм

15 – 200

Давление PN, бар

16

Температура, °С

до +300

Среда

Вода, этиленгликоль, водяной пар, слабые кислотные и щелочные среды и другие нейтральные среды.

Класс герметичности

"А" по ГОСТ 9544-2015

Тип управления

Штурвал – стандартная поставка;

Тип присоединения

фланцевый (ответные фланцы рекомендуем по ГОСТ 33259-2015 (ГОСТ 12820-80 / 12821-80 исп.1)

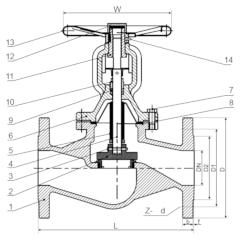
Материалы:

Наименование

Материалы

1

Корпус

Высокопрочный чугун GGG40

2

Клапан

Нержавеющая сталь Х20Cr13 (DN15-65), Углеродистая сталь (DN80-200)

3

Гайка клапана

Углеродистая сталь

4

Шток

Нержавеющая сталь Х20Cr13(AISI420)

5

Сильфон

Нержавеющая сталь AISI304

6

Крышка корпуса

Высокопрочный чугун GGG40

7

Болт крышки

Углеродистая сталь

8

Прокладка корпуса

Графит

9

Уплотнение сальника

Графит

10

Фланец сальника

Углеродистая сталь

11

Гайка штока

Чугун

12

Стопорная гайка

Углеродистая сталь

13

Штурвал

Сталь

14

Масленка

Бронза

Размеры:

DN

L

W

D

D1

D2

b-f

Z-Ød

Масса

мм

мм

кг

15

130 120 95 65 46 14-2 4-Ø14 4.0

20

150 140 105 75 56 16-2 4-Ø14 5.0

25

160 160 115 85 65 16-2 4-Ø14 5.6

32

180 180 140 100 76 18-2 4-Ø19 8.2

40

200 200 150 110 84 18-2 4-Ø19 9.0

50

230 220 165 125 99 20-2 4-Ø19 12.4

65

290 240 185 145 118 20-2 4-Ø19 18.6

80

310 280 200 160 132 22-2 8-Ø19 22.4

100

350 300 220 180 156 24-2 8-Ø19 36.0

125

400 320 250 210 184 26-2 8-Ø19 52.0

150

480 350 285 240 211 26-2 8-Ø23 72.0

200

600 400 340 295 266 30-2 12-Ø23 125.0
Гидравлическая характеристика Kv, м3/ч:

DN, мм

15

20

25

32

40

50

65

80

100

125

150

200

Kv, м3

5.9

7.4

13

18

30

41

79

115

181

225

364

690

Похожее оборудование
ВЕНТИЛЬ ЗАПОРНЫЙ ФЛАНЦЕВЫЙ ТИП RSV016N
Описание Вентиль запорный фланцевый
Диаметр 15 - 300 мм
Давление 16 бар
Температура до 450°С
ВЕНТИЛЬ ФЛАНЦЕВЫЙ ТИП 215/216
Описание Вентиль фланцевый
Диаметр 15 - 300 мм
Давление 16; 25; 40 бар
Температура до 400°С
ВЕНТИЛЬ ЗАПОРНЫЙ С СИЛЬФОННЫМ УПЛОТНЕНИЕМ И НЕВЫДВИЖНЫМ ШТОКОМ ФЛАНЦЕВЫЙ ТИП RSV017N
Описание Вентиль запорный с сильфонным уплотнением и невыдвижным штоком фланцевый
Диаметр 15 - 300 мм
Давление 16 бар
Температура до 300°С
ВЕНТИЛЬ ЗАПОРНЫЙ С СИЛЬФОННЫМ УПЛОТНЕНИЕМ И НЕВЫДВИЖНЫМ ШТОКОМ ФЛАНЦЕВЫЙ ТИП 234/235
Описание Вентиль запорный с сильфонным уплотнением и невыдвижным штоком
Диаметр 15 - 250 мм
Давление 16; 25; 40 бар
Температура до 400°С
ВЕНТИЛЬ ЗАПОРНЫЙ РЕЗЬБОВОЙ ТИП 201
Описание Вентиль запорный резьбовой
Диаметр 3/8” - 2” (10-50 мм)
Давление С - 16 бар
Температура до 200°С
ВЕНТИЛЬ ЗАПОРНЫЙ ФЛАНЦЕВЫЙ ТИП ВН 300
Описание Вентиль запорный фланцевый
Диаметр 15 - 300 мм
Давление 16 бар
Температура до 200°С