Виброкомпенсатор тип RSV011N-EU

КОМПЕНСАТОР РЕЗИНОВЫЙ (ГИБКАЯ ВСТАВКА) РЕЗЬБОВОЙ ТИП RSV011N-EU
КОМПЕНСАТОР РЕЗИНОВЫЙ (ГИБКАЯ ВСТАВКА) РЕЗЬБОВОЙ ТИП RSV011N-EU
КОМПЕНСАТОР РЕЗИНОВЫЙ (ГИБКАЯ ВСТАВКА) РЕЗЬБОВОЙ ТИП RSV011N-EU
КОМПЕНСАТОР РЕЗИНОВЫЙ (ГИБКАЯ ВСТАВКА) РЕЗЬБОВОЙ ТИП RSV011N-EU График температура - давление
График температура - давление
Цена по запросу
Каталожная карта
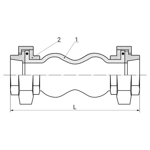
Характеристика:

Диаметр DN, мм

15 - 80 (1/2" - 3")

Давление PN, бар

16

Температура, °С

от -10 до +95 (до +110 кратковременно)

Среда

вода, этиленгликоль

Тип присоединения

резьбовой

Материалы:

Наименование

Материалы

1

Гибкий элемент

EPDM, армирован нейлоновым шинным кордом

2

Муфта

Чугун, покрытый никелем

Размеры:

DN

L

Допустимая деформация под нагрузкой в процессе эксплуатации*

Масса

L1

сжатие

L2

растяжение

L3

боковое смещение

Угловое смещение (изгиб)

мм

"

мм

кг

15

1/2

200

22

5

22

22.5°

0,7

20

3/4

200

22

5

22

0,8

25

1

200

22

6

22

1,2

32

1 1/4

200

22

6

22

1,5

40

1 1/2

200

22

6

22

2,1

50

2

200

22

6

22

2,7

65

2 1/2

240

22

6

22

4,0

80

3

240

22

6

22

5,7

* - на трубопроводе после его опорожнения деформация компенсаторов должна быть восстановлена

Внимание!
Недопустима одновременная работа компенсатора на растяжение и сдвиг

Похожее оборудование
КОМПЕНСАТОР РЕЗИНОВЫЙ (ГИБКАЯ ВСТАВКА) ФЛАНЦЕВЫЙ ТИП RSV012N-EU,
Описание Компенсатор резиновый (гибкая вставка) фланцевый
Диаметр 25 - 600 мм
Давление 16 бар
Температура от -20°С до +95°С (до +110°С кратковременно)
КОМПЕНСАТОР РЕЗИНОВЫЙ (ГИБКАЯ ВСТАВКА) РЕЗЬБОВОЙ ТИП RSV011N
Описание Компенсатор резиновый (гибкая вставка) резьбовой
Диаметр 1/2” - 2” (15 - 50 мм)
Давление 16 бар
Температура от -10°С до +95°С (до +110°С кратковременно)
КОМПЕНСАТОР РЕЗИНОВЫЙ (ГИБКАЯ ВСТАВКА) ФЛАНЦЕВЫЙ ТИП 2831
Описание Компенсатор резиновый (гибкая вставка) фланцевый
Диаметр 32 - 500 мм
Давление 10 бар
Температура от -10 до 105°С
КОМПЕНСАТОР РЕЗИНОВЫЙ (ГИБКАЯ ВСТАВКА) РЕЗЬБОВОЙ ТИП 2830
Описание Компенсатор резиновый (гибкая вставка) резьбовой
Диаметр 3/4” - 2” (20 - 50 мм)
Давление 10 бар
Температура от -10°С до 105°С
КОМПЕНСАТОР РЕЗИНОВЫЙ (ГИБКАЯ ВСТАВКА) ФЛАНЦЕВЫЙ ТИП RSV013N-EU,
Описание Компенсатор резиновый (гибкая вставка) фланцевый
Диаметр 200 - 600 мм
Давление 10 бар
Температура от -20°С до +95°С (до +110°С кратковременно)
КОМПЕНСАТОР РЕЗИНОВЫЙ (ГИБКАЯ ВСТАВКА) ФЛАНЦЕВЫЙ ТИП 700
Описание Компенсатор резиновый (гибкая вставка) резьбовой
Диаметр 32 - 600 мм
Давление 10/16 бар
Температура до 90°С
КОМПЕНСАТОР РЕЗИНОВЫЙ (ГИБКАЯ ВСТАВКА) ФЛАНЦЕВЫЙ ТИП RSV012N
Описание Компенсатор резиновый (гибкая вставка) фланцевый
Диаметр 32 - 600 мм
Давление 16 бар
Температура от -10°С до +95°С (до +110°С кратковременно)